The MGA With An Attitude
MGAguru.com MGAguru.com
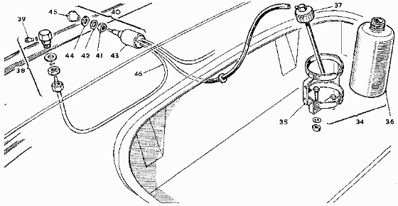
MGA Part Numbers - AHH5798
Screenwasher Kits

(Small Mouth Bottle)
PART NO.  SPL.PAGE  DESCRIPTION                                                           
AHH5700   16.R.13   Washer kit -windscreen -(windscreen washer, 1600 and 1600-MK-II)
AHH5798   15.R.13   Windscreen washer kit -(1500, optional extra) -(small mouth bottle)
AHH5798   TC.R.12   Windscreen washer kit -(Twin Cam, optional extra, small mouth bottle)
    -changed to AHH5983 (large mouth bottle) Com.(C)2545
washer kit

Push knob with red and white logo washer bottle mounting washer jet close up Windscreen Washer Kit
for all MGA

See Service Part List, Section.R (Body) for component parts and installation hardware.


More information at: AT-105A -- AT-105A1 -- AT-105A2 -- AT-105A3 -- AT-105B -- AT-105C -- AT-105J -- AT-105P -- AT-105T

Find later large mouth bottle kit at AHH5983.htm
More informtion at AT-105a

HomeBackTopNext
Thank you for your comments -- Send e-mail to <Barney Gaylord>
© 2026 Barney Gaylord -- Copyright and reprint information