The MGA With An Attitude
CHANGES To Spring Pan and Wishbone Arms -- FS-103G
The front anti-sway bar was introduced in late production of the MGA 1500 at (C) 66574, and mid production of the MGA Twin Cam at (C) 2275. Required modification of the front frame extension to accommodate the sway bar is covered in a prior article. This one is about changes to the spring pans and wishbone arms to accommodate the sway bar end links.
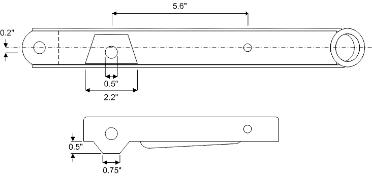
The spring pans acquired a small extension on the bottom edge near the ourboard end to accommodate a hole to accept bottom end of the sway bar link. Notice the newer spring pans have three holes on each side, front and back, so they can be used on either side of the car, with or without sway bar.

Picture below shows one early issue spring pan, and the modification required to convert it to later style. The material is 3mm thick (0.120 inch, or 11-gauge steel). A small extension tab is welded onto the bottom edge and ground smooth before drilling to acept the sway bar link. The original small hole has also been welded shut, but that step is not necessary. Modern replacement spring pans are often made with three holes each side (as shown above) so they can be used with or without the sway bar.

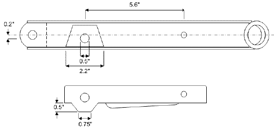
The wishbone arms previously had two small holes to bolt to the spring pans. With the modification the front arms have one small hole inboard and one larger hole outboard (below center) to accept the bottom end of the sway bar link. The front side of the front arm will also have a thick reinforcement plate welded inside to increase thickness of the arm where the link will attach (high stress point in operation).

I believe there is an error in the picture (possibly a faulty vendor part) where the reinforcing plate should have a countersink in the hole to mate with the conical surface of the pin on the sway bar link. If a new part comes to you with a plain hole here, you might want to add the countersink before installation.

The drawing shows size and location of the hole required for sway bar link attachment. Sway bar material is 3mm thick (0.120 inch, or 11-gauge steel). The added pad is double thickness or 6mm thick (0.240 inch) for total thickness of 3/8-inch. There should be a countersink in that hole to match the bevel on the link.
Spring pans and wishbone arms are same parts for MGA and MGB, while the end links are long for MGA, shorter for MGB.
|