The MGA With An Attitude
Water Pumps, MGB Type - CO-108D
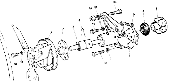
MGB water pumps are similar in construction to the late MGA pump with cartridge bearing and press fit pulley hub. There are four different models for MGB. The first is for 1962-1964 18G and 18GA series 3-main bearing engines. The rest are for the 5-main bearing engines, 1965-1971 18GB-18GK engines, 1972-1974 18V engines, 1975-1980 18V engines.

The water pump for early MGB 18G and 18GA 3-main bearing engines is 3/8" longer than the MGA pump, 4-1/8" vs 3-3/4. The water pump for all MGB engines is located with two dowel pins, so if you were to install the MGA pump on a 18G 0r 18GA engine, you need to pull out the dowel pins (or cut them off flush). The impellor for the MGB pump is a bit longer, but it is recessed within the pump body so protrudes about the same distance in back. The bolt patterns are same, so either pump can physically bolt into either block. but that does not mean they will seal up or function as well. The MGB pump has six vane impellor where the MGA pump has four vanes.
The aperture in the face of the MGB block is larger (more open area). If you were to install the MGA pump in the MGB block, there would be much less overlap on the gasket with some risk of seal failure immediately or maybe later. Additionally the MGB block face aperture has a narrow depression at the bottom which is likely to extend slightly below the bottom mounting flange of the MGA pump, so the MGA pump may leak at the bottom when installed in the MGB block. there is some report of this joint not leaking, but it must be somewhat precarious (and not recommended). Fitting the early MGB pump to the MGA may be a way to increase water flow in the MGA, but I haven't verified the fit yet.

If the MGA pump is installed with the MGB 18G or 18GA block, you need to use the shorter MGA pulley. If the MGB pump is installed with the MGB 18G or 18GA block, you need to use the longer MGB pulley 3/8-inch longer), and you may want to shim the MGA radiator forward 1/4-inch (when it would bump into the body air pan unless the pan would be trimmed forward some).
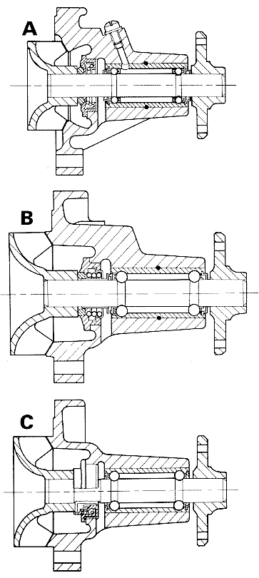
For MGB 1965-1971 18GB-18GK 5-main bearing engines,the MGB pump measures 4.125" from engine face to front of hub for the blade (same length as for the 3-main bearing engines). Using this pump you can install a 5-main bearing engine in the MGA, with same caveats as for the 18G and 18GA engines (recommend shimming the radiator forward 1/4-inch).
Water pump for 1971-1976 MGB 18V 5-main engines would be 3.25"long, 1/2" shorter than the MGA or early MGB pump, or 7/8" shorter than the mid production MGB early 5-main engines. But, all MGB 5-main water pumps are physically interchangeable (except for length), so you can use an early 5-main pump to install a later 5-main engine in the MGA (shimming the radiator forward a bit).
For 1974-1/2 to 1980 18V 5 main engines , the water pump is nearly identical to the earlier 18V engines, except one of the mounting bolts is longer (extending farther forward) for mounting of the air pump bracket. If no air pump is used, then this is a mute point.
|