The MGA With An Attitude
Rally Odometer, HALDA TripMaster - COMP-201
Halda TripMaster was made with alloy case or plastic case. This is an Odometer (or mileometer) which reads to 1/100th of a mile (or kilometer) and can be calibrated extremely accurately. This is done by changing one or, a pair of gear wheels, when initially setting the unit up. The read-out can be zeroed by the pull of a knob, advanced or reversed by hand, made to run forward or backward, or turned off. There are two versions of the TripMaster. The earlier one has a metal outer case. The later one has a plastic case and minor internal improvements.
The TripMaster is driven from the car's speedometer cable by means of a T-gear (a right angle drive take off) which screws in between the speedo cable and speedometer, with another similar cable branching off the side to go to the TripMaster. In a couple of minutes you can swap gears to allow for different axle ratios or tyres and change to miles or kilometre, provided you have set it up beforehand.

Drive cable and clips
|

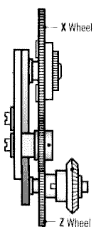
Standard X-Gear
|

T-Drive for Speedo
|
Thanks to HALDA's simple adjustment gear arrangement, with quickly exchangeable X-wheels and Z-wheels (see brochure), you have - if desired - the great advantage of being able to adjust the instrument yourself to within 99.6 to 100 % of the "Rally Master's mile" (or kilometre) in each rally, or to change of tires. etc. For this purpose you will require a few X-gear wheels and possibly - but unlikely - one Z-gear wheel. The number of different X-wheels you will need depends on within what percentage range you want to be able to adjust up or down.
How to Choose X-wheels
There are two systems available for choosing X-wheels, one is described in the following; one is described on the back of the fitting instructions also enclosed with the instrument package. The latter assumes that your instrument is delivered geared for 1000 revs per mile of the speedo cable. The system described below works irrespective of for what number of revs per mile your instrument is geared on delivery. This system is a later development and, we feel, perhaps the easiest.
The table below shows the range of X-wheels available. Against each of them you will find a percentage figure. This figure is the percentage with which the odometer reading changes per tooth deviation from that very wheel.
Example: If your instrument is fitted with X-wheel 141, a change to X-wheel 140 increases your odometer reading by 0.709%. In the same way a change from 141 to, for instance, 137 increases your odometer reading by 2.836% (4 teeth x 0.709% = 2.836%).
Rule of thumb: If your instrument shows:
too little use X-wheel with less teeth
too much use X-wheel with more teeth
| No. of teeth |
Percentage change/tooth |
No. of teeth |
Percentage change/tooth |
No. of teeth |
Percentage change/tooth |
| 118 | 0.847% | 129 | 0.775% | 140 | 0.714% |
| 119 | 0.840% | 130 | 0.769% | 141 | 0.709% |
| 120 | 0.833% | 131 | 0.763% | 142 | 0.704% |
| 121 | 0.826% | 132 | 0.758% | 143 | 0.699% |
| 122 | 0.820% | 133 | 0.752% | 144 | 0.694% |
| 123 | 0.813% | 134 | 0.746% | 145 | 0.690% |
| 124 | 0.806% | 135 | 0.741% | 146 | 0.685% |
| 125 | 0.800% | 136 | 0.735% | 147 | 0.680% |
| 126 | 0.794% | 137 | 0.730% | 148 | 0.676% |
| 127 | 0.787% | 138 | 0.725% | 149 | 0.671% |
| 128 | 0.781% | 139 | 0.719% | 150 | 0.667% |
From this table you will be able to decide which X-wheels you may need around the one fitted in your instrument.
Example:
Your instrument is on delivery fitted with X-wheel 141. Suppose your instrument shows 9.72 miles when the Rally Master says 10 miles. You consequently show 28/100 of a mile or 2.8% less, so you want to change to an X-wheel giving you a 2.8%increased reading oras near as makes no difference. Each tooth deducted from 141 changes your odometer reading by 0.709%. You consequently need 2.8/0.709 = approximately 4 teeth less than 141, or 137 teeth. Fitting 137 will give you an increased odometer reading of 4 x 0.709% = 2.836%. Your readings will in other words be 0.036% fast compared to the Rally-Master's, which is of course only 0.36/1000 miles per mile or less than 2 feet per mile!!
On receipt of wheels ordered, we suggest that - for easy reference - you mark them with the percentage, PLUS or MINUS, that each wheel means to your instrument, thus avoiding mathematics during the rally. A special storage unit, shown in the brochure, permits complete protection for your extra gear wheels and keeps them in neat order readily available for use.
A spare gear holder is another useful accessory for fast adjustment during a rally. You then also need a spare Z-wheel with the same number of teeth that you have in your instrument. When you know what X-wheel to use to equal the "Rally-Master's mile", you fit this and the Z-wheel to your spare gear holder and you then have a complete unit ready for inserting in the instrument, thereby further reducing the short time it takes to change gears.
We suggest that you order the parts you require from the same company that delivered your instrument.
FITTING INSTRUCTIONS
HALDA MASTER will mount conveniently in front of or underneath the instrument panel. To provide possible alternative methods of installation the MASTER has suitable screw holes on the back of the case (thread type M 4). It is delivered complete with fastening frame.
HALDA MASTER is connected to the speedometer as shown in figure 1. The speedometer cable 4 is detached from the speedometer 1 and screwed instead on to the T-gear 3, which in turn is screwed direct on to the speedometer. In special cases where space is lacking, it may be necessary to insert an extension cable 2 between the speedometer and the T-gear. The drive cable 5 joints the T-gear to the MASTER 8. MASTERS are supplied as standard with the connection for the drive cable direct from the rear as shown on figure 1, alternative 1. If the connection is required at a right angle as shown in alternative 2, it is necessary to order as an extra, an L-gear part No. 705512. When several instruments are joined in series as alternative 3, a special T-gear with through drive, part No. 705508, must be ordered as additional equipment.
1.Speedometer
2. Extension cable
3. T-gear, ratio 8:1
4. Speedometer cable
5. Drive cable to MASTER
6. L-gear, ratio 1:1
7. T-gear, ratio 1:1
8. HALDA MASTER
Check that driving cable from T-gear 3 enters gear 7 in direction of arrow, as indicated in figure 1, alternative 3.
The drive cable is supplied with standard length of 24" (600 mm). Other lengths from table 1 are available if requested at the time of ordering. T-gear for connection to the speedometer is supplied with screw connection and driving pin appropriate to the car for which it is required. Extension cables are supplied as extra accessories.
ADJUSTMENT INSTRUCTIONS
The MASTER is provided with an adjustment gearing, by means of which the instrument can easily be accommodated to every existing make of car - that is to say,to the number of revolutions made by the speedometer drive to each mile or kilometre.
Looking at MASTER from the front, the gearing is found inside the left hand end plate, which can be lifted off after loosening the retaining screw. The position of the two change wheels X and Z is shown on fig. 2. The relation between the number of teeth on these wheels and the number of turns R per mile (km) of the speedometer cable is given in table 3.
MASTERS are delivered from the Works set for approximately 1000 revs of the speedo cable per mile (km).
When calibrating, the MASTER is zeroed and a trial run is made over an exact measured distance of 1-mile (km). The figure shown on the MASTER at the end of this test is multiplied by 10 and the resultant figure is sought in the table. This then shows the correct number of teeth required on the X- and Z-wheels. Example: Suppose after the test that the 1/100 mile (km) figure wheel has stopped exactly between 3 and 4 and the 1/10 mile (km) figure wheel on 6 - then the total registered would be 63.5. Multiplying by 10 gives 635. Checking this value for R in the table shows that for this figure Z = 48 and X = 134. The X- and Z-wheels so determined must be fitted in the MASTER for this to show the correct distance.
Table 3
| No. 145863 |
No. 101598 |
No. 145864 |
| X |
Z |
| 70 |
58 |
48 |
39 |
32 |
27 |
22 |
18 |
16 |
| R | R | R | R | R | R | R | R | R |
| 118 | 383 | 463 | 559 | 688 | 838 | 994 | 1220 | 1491 | 1677 |
| 119 | 387 | 466 | 564 | 694 | 846 | 1002 | 1230 | 1503 | 1691 |
| 120 | 390 | 470 | 568 | 700 | 853 | 1011 | 1240 | 1516 | 1705 |
| 121 | 393 | 474 | 573 | 705 | 860 | 1019 | 1251 | 1528 | 1719 |
| 122 | 396 | 478 | 578 | 711 | 867 | 1027 | 1261 | 1541 | 1734 |
 |
| 123 | 400 | 482 | 583 | 717 | 874 | 1036 | 1271 | 1554 | 1748 |
| 124 | 403 | 486 | 587 | 723 | 881 | 1044 | 1282 | 1566 | 1762 |
| 125 | 406 | 490 | 592 | 729 | 888 | 1053 | 1292 | 1579 | 1776 |
| 126 | 409 | 493 | 597 | 735 | 895 | 1061 | 1302 | 1592 | 1791 |
| 127 | 412 | 498 | 602 | 740 | 902 | 1069 | 1313 | 1604 | 1805 |
 |
| 128 | 416 | 502 | 606 | 746 | 909 | 1078 | 1323 | 1617 | 1819 |
| 129 | 419 | 506 | 611 | 752 | 917 | 1086 | 1333 | 1629 | 1833 |
| 130 | 422 | 510 | 616 | 758 | 924 | 1095 | 1344 | 1642 | 1847 |
| 131 | 425 | 514 | 621 | 764 | 931 | 1103 | 1354 | 1655 | 1862 |
| 132 | 429 | 517 | 625 | 770 | 938 | 1112 | 1364 | 1667 | 1876 |
 |
| 133 | 432 | 521 | 630 | 775 | 945 | 1120 | 1375 | 1680 | 1890 |
| 134 | 435 | 525 | 635 | 781 | 952 | 1128 | 1385 | 1693 | 1904 |
| 135 | 438 | 529 | 639 | 787 | 959 | 1137 | 1395 | 1705 | 1918 |
| 136 | 442 | 533 | 644 | 793 | 966 | 1145 | 1406 | 1718 | 1933 |
| 137 | 445 | 537 | 649 | 799 | 973 | 1154 | 1416 | 1731 | 1947 |
 |
| 138 | 448 | 541 | 654 | 805 | 981 | 1162 | 1426 | 1743 | 1961 |
| 139 | 451 | 545 | 658 | 810 | 988 | 1171 | 1437 | 1756 | 1975 |
| 140 | 455 | 549 | 663 | 816 | 995 | 1179 | 1447 | 1768 | 1989 |
| 141 | 458 | 553 | 668 | 822 | 1002 | 1187 | 1457 | 1781 | 2004 |
| 142 | 461 | 557 | 673 | 828 | 1009 | 1196 | 1468 | 1794 | 2018 |
 |
| 143 | 464 | 561 | 677 | 834 | 1016 | 1204 | 1478 | 1806 | 2032 |
| 144 | 468 | 565 | 682 | 840 | 1023 | 1213 | 1488 | 1819 | 2046 |
| 145 | 471 | 568 | 687 | 845 | 1030 | 1221 | 1499 | 1832 | 2061 |
| 146 | 474 | 572 | 692 | 851 | 1037 | 1229 | 1509 | 1844 | 2075 |
| 147 | 477 | 576 | 696 | 857 | 1044 | 1238 | 1519 | 1857 | 2089 |
 |
| 148 | 481 | 580 | 701 | 863 | 1052 | 1246 | 1530 | 1869 | 2103 |
| 149 | 484 | 584 | 706 | 869 | 1059 | 1255 | 1540 | 1882 | 2117 |
| 150 | 487 | 588 | 711 | 874 | 1066 | 1263 | 1550 | 1895 | 2132 |
Manufactured by HALDEX AB, HALMSTAD, SWEDEN
Cables: Haldex - Telex: 3584 - Telephones: 035/118560
CITY-TRYCK, HALMSTAD 118369
|